Często komentowane 33 Komentarze

PlayStation Move: Nowy patent, który grzeje i ziębi

PlayStation Move: Nowy patent, który grzeje i ziębi
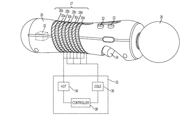
Sony zarejestrowało patent dotyczący dość ciekawego gadżetu. Ustrojstwo umieszczone na drążku PlayStation Move będzie podgrzewać i schładzać się zależnie od akcji na ekranie.

Najprostszym zastosowaniem będą shootery – kiedy broń gracza zacznie się przegrzewać, poczuje to na dłoni, by po przeładowaniu urządzonko uległo schłodzeniu. Podobnie w momentach wartkiej akcji, kiedy postać gracza zostanie obrzucona granatami lub popieści ją prąd. Nie mówiąc o spokojniejszych momentach, jak poszukiwanie zaginionych przedmiotów – tutaj oczywiście myślimy m.in. o Dishonored i poszukiwaniu run oraz talizmanów, dosłownie zabawie w ciepło-zimno.

Ponadto gadżet będzie chłodził dłonie gracza, kiedy zbyt mocno się spocą.

TUTAJ możecie przyjrzeć się patentowi.

33 odpowiedzi do “PlayStation Move: Nowy patent, który grzeje i ziębi”

  1. omg… czego to oni nie wymyślą

  2. „…Brian chwycił swój ergonomiczny plazmowy kubek i usiadł w swoim ergonomicznym fotelu. Wcale nie czuł, że siedzi… czuł się tak jak wtedy, gdy jego postać szybowała pośród chmur skacząc z samolotu nad Saharą… Lekkim drżeniem powiek wprawił w ruch swojego avatara i ruszył na podbój nowej fantastycznej krainy, którą jego Dream-Creator skompilował ze snów, które objawiły mu się minionej nocy… Chciał pójść do łazienki, ale nie wiedział jak… toaleta nie była jeszcze kompatybilna z nowym interfejsem.”

  3. Nawet na Normandii nie mają czegoś takiego 🙂

  4. Ciekawe jak to działa w Mortal Combat jak komuś serce wyrwiesz 😛

  5. move ma wibracje? jak tak to następnym krokiem będzie dodanie „automatycznego nawilżacza’ xD|troll mode off

  6. „Ponadto gadżet będzie chłodził dłonie gracza, kiedy zbyt mocno się spocą.”|Chce coś takiego wbudowane/do nałozenia na myszke >.<

  7. Patent na chłodzenie dłoni jest dostępny już od jakiegoś czasu w padach. Co do myszy: Kurdę, chyba najwyższy czas pogooglać:P

  8. Jak juz wymyslili takie cudo, to premiere nastepnej generacji konsol moga teraz przelozyc o 6 lat. Te newsy to tak jak czytac, ze wlasnie wyszedl nowy spojler do trabanta.

  9. Miało by to z pare zastosowań np. Podgrzewanie gdy nasza postać trzyma za długo Firebolla albo lufa w KM się grzeje. Z drugiej strony ciekawe jaki to ma wpływ na ciężar i żywotność baterii.

  10. Nieprzydatny do niczego badziew. Potrzebne są lepsze gry, a nie śmieszne dodatki. Jak się ręce pocą, to znak, by zrobić sobie przerwę, a nie by je chłodzić.

  11. @magzczarnejhuty – nie muszę siedzieć 5 godzin, żeby mi się dłonie pociły, niektórzy po prostu tak mają, that’s it…ja się bardziej zastanawiam jak miałoby to współpracować z „karabinkiem” na move’a, przecież nikt nie gra tym w strzelanki bez tego „karabinka”, strasznie niewygodne…więc jeśli już miałoby znaleźć zastosowanie w strzelankach to…no zobaczymy 😉

  12. Uśmiałem się.

  13. Już widzę co Microsoft wyda w odpowiedzi: „Przystawka do kinecta dzięki której poczujecie, gdy marcus fenix pusci bąka”

  14. To może jeszcze niech przy strzelaniu się z tego czegoś dymi? To już całkiem świetny pomysł…

  15. Weźcie przestańcie w końcu z tymi je….. konsolami mają już 7 lat i dalej je ciągną za sobą.

  16. nie sam kupiłem i mam dość ograniczania konsol

  17. No jasne najlepiej niech robią gry facebookowe:)

  18. a jeszcze 2005 było zupełnie inaczej czyli przed wypuszczeniem nowych konsol

  19. Ciekawy patent. Problem jest tylko jeden – wciąż nie ma dobrych gier naprawdę korzystających z Move. Sorcery, KZ3 i Heavy Rain to tylko jaskółki.|@Aargh – Srsly? Chce Ci się prowadzić tą dyskusję? 😉

  20. @Aargh next-geny to nie lepsza grafika, ale bardziej zlozony I rozbudowany swiat-sumulacja wiekszej ilosci NPC Grafiki z PC-tow nie przebija. Konsola ktora pobiera 200w nie wyswietli lepszego obrazu niz uklad kart graf. ktory pobiera 600w.

  21. Pomysl ze w kolejnym GTA mialbys dzieki lepszemu CPU- 2000 NPC zyjacych swoim wlasnym zyciem. Niestety moc obliczeniowa obecnej generacji konsol na to nie pozwala. Ba maja nawet proble..m, zeby wyswietlic obraz 1080p

  22. @Aargh uklad kart graf. w SLI, CROSSFIRE juz tyle pobiera.

  23. Mi wystarczy jak tylko GTA bedzie w stanie wykorzystac te moc. W sumie Rockstar to chyba jedyne studio, ktore byloby w stanie wykorzystac te moc: GTA, RDR.

  24. Koszta dodania kolejnych samodzielnych 2000 dla serii GTA bylyby znikome. Silnik gry juz teraz je generuje ale tylko czasowo (ograniczenia CPU I RAM). Przejazd zatloczona ulica juz powoduje zwiekszone zapotrzebowanie na gigaherce.

  25. @Aargh- Aktorzy I dodatkowe animacje nie bylyby tu potrzebne. Mi chodzi o siec powiazan. Pracownik stacji paliw po 8h shift-cie wsiada w samochod I jedzie do domu, nastepny dzien jedzie znowu do pracy. Jak zginie to bedzie zabrany na cmentarz gdzie ktos wykopie mu grob itp. I tak 2000 podobnych postaci bedzie podizalo swoimi sciezkami podczas gry.

  26. OnLive by sie tu sprawdzil.

  27. ten news mnie ni grzeje, ni ziębi

  28. i tak i tak konsole obecnej generacji nic juz nie są w stanie wygenerować PC tej chwili powinien wiec prym w innowacjach jako pokaz możliwości przyszłych generacji a nie odświeżanie konsol pod różnymi przykrywkami.

  29. chłodzenie by się przydało w padach do grania a nie w takim Move

  30. Wiecie, że to nie działa, prawda?

  31. Przecież w shooterach ten kontroler nie znajduje się w rękach gracza, tylko w odpowiedniej pistoleto/karabino podobnej obudowie. Trzymanie różdżki w ręku jest zwyczajnie niewygodne w strzelankach.|Ale sam pomysł jest ciekawy

  32. Aż chce się zanucić ,,’Cause you’re hot then you’re cold….” aaa,sory …nie ten news

  33. Pomysł ciekawy, ale średnio sprawdzi się w praktyce. Ale za to amerykańscy rodzice będą mogli pozwać Sony o to, że ich dzieci odmroziły sobie palce 😀

Skomentuj