07.11.2013
Często komentowane 14 Komentarze

PlayStation 4: Rzeczywistość wirtualna coraz bliżej? Ciekawe patenty Sony

PlayStation 4: Rzeczywistość wirtualna coraz bliżej? Ciekawe patenty Sony
Przenikliwi użytkownicy NeoGAF dostali się do nowo zarejestrowanych patentów Sony. Bez oficjalnych zapowiedzi nie ma pewników, ale są podstawy, by przypuszczać, że wydawca będzie eksperymentował z wirtualną rzeczywistością.

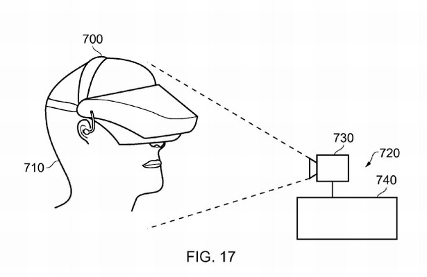
Sony zarejestrowało dwa patenty. Pierwszy z nich dotyczy systemu audio, który będzie skutecznie izolował użytkownika od otoczenia, Jednocześnie izolacja ma być na tyle „mądra”, by gracz słyszał alarm, płacz dziecka lub obiekty zbliżające się do jego głowy. Drugi patent dotyczy złożonego z dwóch wyświetlaczy ekranu mocowanego przed oczami gracza, reagującego na ruchy głowy. Brzmi znajomo?

Jeśli chcecie przebrnąć przez trudną lekturę patentów, możecie obejrzeć je TUTAJ oraz TUTAJ.

Czyżby Oculus Rift miał doczekać się braciszka?

14 odpowiedzi do “PlayStation 4: Rzeczywistość wirtualna coraz bliżej? Ciekawe patenty Sony”

  1. Przenikliwi użytkownicy NeoGAF dostali się do nowo zarejestrowanych patentów Sony. Bez oficjalnych zapowiedzi nie ma pewników, ale są podstawy, by przypuszczać, że wydawca będzie eksperymentował z wirtualną rzeczywistością.

  2. Ja tylko proszę żeby takie rzeczy były opcjonalne przy graniu tak długo jak to możliwe. Chcę po prostu dostać pada, konsolę i żadnych innych głupot pokroju movea czy kineckta. Potem chcę wygodnie usiąść i zanurzyć się w świat jakiejś dobrej gry. Jeśli przyjdzie dzień w którym nie będzie można pograć jeśli się tych hełmofonów nie założy to rzucam granie w diabły.

  3. Nerve Gear ;D

  4. @age|Na razie to tylko patenty. Zanim się za coś takiego wezmą, to minie minimum 10 lat.

  5. ja też o to proszę co @age i o jeszcze jedno żeby te rzeczy były przyjazne dla osób niepełnosprawnych

  6. @2real4game – GDC 2014 jest za 5 miesięcy, a nie za 10 lat 😉

  7. Widać, że nigdy nie mieliście OR na głowie. Jest to jedno z najrealniejszych przeżyć jakie możesz sobie zafundować przed komputerem. Szkoda tylko że cena zwala z nóg, i jest nieosiągalna dla przeciętnego kowalskiego. Ja życzę wszystkim graczom żeby technologia OR i podobne VR jak najszybciej weszły do powszechnego użytku. Byle za postępem technologicznym przyszedł postęp w rozgrywce. Bo w sensie strikte gameplayowym to granie umiera. Nadzieja w grach indie, które dają więcej frajdy niż nowe BFy i Cody.

  8. Był już o tym news i chyba nawet ktoś z sony się na ten temat wypowiadał, |całość ma działać podobnie do okultusa z dodatkowym oparciem na kamerce move w celu śledzenia pozycji głowy gracza

  9. @ 2real4game, zawsze śmieszy mnie jak ktoś bierze takie terminy znikąd. 10 lat? Dlaczego?

  10. Ja chce te technologię jak najszybciej. Dla mnie jest to przyszłość grania.

  11. @Staz – Niestety poczekamy jeszcze 10 lat 😛

  12. @bimberoman17 1000zł (300$ za OR) to za dużo dla przeciętnego Kowalskiego? Może to grosze nie są, ale znam ludzi, którzy włożyli w komputery parę ładnych tysięcy i nie szkoda im by było kupić Oculusa za tysiąc złotych. Tyle samo kosztuje telewizor ze średniej półki, więc gracz zamiast kupować taki gadżet sprawi sobie gogle wirtualnej rzeczywistości. Tak jak przeciętny Kowalski nie ma Gamingowego PC, tak samo nie będzie miał OR, ale to nie znaczy, że go nie stać.

  13. Ja bym sam kupił OR jakby nie to że strasznie męczą się w nim moje oczy, nie wiem czy to kwestia przyzwyczajenia czy predyspozycji danej osoby ale ja wzrok mam zdrowy a jednak oczy męczą mi się w tym strasznie szybko.

Skomentuj